










| Производитель | Точмедприбор |
|---|---|
| Страна производитель | Украина |
Синоптофор СИНФ-1 предназначен для диагностики и лечения косоглазия.
Используется для определения объективного и субъективного углов косоглазия, состояния корреспонденции сетчаток, способности к бинокулярному слиянию, фузионных резервов, наличия или отсутствия функциональной скотомы, наличия нефовеального слияния.
С помощью синоптофора можно проводить лечебные ортопедические упражнения: устранение функциональной скотомы, асимметричного бинокулярного зрения, развитие нормальной фузионной способности (бифовеального слияния, фузионных резервов), подвижности глаз, стабилизацию бинокулярного зрения.
Синоптофор применяется в глазных клиниках, поликлиниках и в кабинетах охраны зрения детей. Комплектуется двадцатью парными объектами.
Характеристики:
|
Диапазон показаний шкалы горизонтальных углов, град |
0±45 |
|
Диапазон показаний шкалы вертикальных углов, срад |
0±10 |
|
Угол поворота каждой оптической головки при симметричных разворотах обеих головок, град., в направлении: |
схождения оптических осей окуляров головок - не менее 45; расхождения оптических осей окуляров головок - не менее 25 |
|
Угол поворота оптических головок при совместных односторонних разворотах, град, не менее |
32 |
|
Поворот объектов относительно оптической оси в обе стороны от нуля, град, не менее |
15 |
|
Расстояние между осями окуляров оптических головок изменяется в пределах, мм |
50-70 |
|
Увеличение оптической системы, крат |
2 |
|
Частота совместных и раздельных автоматических миганий и колебаний в 1 секунду в пределах |
2-8 |
|
Питание от сети переменного тока, напряжением, В |
220±22 |
|
Потребляемая мощность, ВА, не более |
30 |
|
Габаритные размеры, мм |
445x297x1377 |
|
Масса, кг, не более |
синоптофора - 15; в полном компл. поставки - 18 |
Комплектация синоптофора СИНФ-1:
1. Прибор СИНФ-1 - 1 шт.
2. Футляр деревянный с тест объектами – 1 шт.
внутри футляра тест объекты - 40 шт. (20 пар)
перечень тест объектов:
объекты на совмещение (6 пар) №4; №6; №7; №12; №14; №16 (рис.5)
объекты на слияние (12 пар) №1; №2; №3; №5; №8; №9; №10; №11; №15; №17; №18; №19 (рис. 4.1, рис. 4.2)
объекты для наблюдения стереоскопического блеска (1 пара) №13 (рис.5)
объекты контрольные (1 пара) №20 (рис.5)
3. Запасные части и принадлежности входящие в комплект поставки:
лампа накаливания миниатюрная МН26-0,12-1 - 10 шт
вставка плавка ВПТ6-1 - 4 шт.
салфетка - 1 шт.
1. УСТРОЙСТВО И ПРИНЦИП РАБОТЫ
Принцип работы синоптофора основан на разделении полей зрения. Парные объекты раздельно предъявляют обоим глазам и устанавливают оптические головки прибора так, чтобы объекты располагались по зрительным линиям.
При параллельном положении оптических осей синоптофора, в случае отсутствия косоглазия или выраженной гетеро-фории, рисунки сливаются.
При косоглазии рисунки, предъявляемые для каждого глаза, видны раздельно и сливаются при наличии у пациента способности к бинокулярному слиянию только при повороте осей на соответствующий угол.
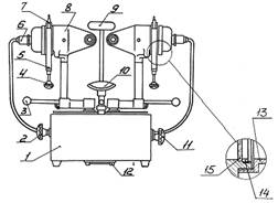
Синоптофор состоит из основания 1 (рисунок 1), на котором укреплены две оптические головки 8. В основании смонтированы все узлы управления.
Панель управления находится со стороны врача. Оптические головки вращением рукоятки 2 могут быть установлены на заданное межзрачковое расстояние. Правая и левая оптические головки могут с помощью рукояток 3 поворачиваться в горизонтальном направлении.
Каждая головка может быть зафиксирована в любом месте шкалы с помощью фиксаторов 3 (рисунок 2). При зафиксированном положении головок обе головки могут совместно перемещаться рукояткой 3 (см. рисунок 1), для чего необходимо предварительно отвернуть рукоятку 11.
Головки имеют специальные кассеты 5, в которые устанавливаются парные объекты 7. С помощью рукояток 4 объекты могут перемещаться по вертикали, а рукоятками 2 (рисунок 3) объекты могут поворачиваться.
Синоптофор комплектуется двадцатью парными объектами, рассчитанными на слияние (рисунки 4.1 и 4.2), на совмещение и для наблюдения стереоскопического блеска и контроля (рисунок 5).На каждом объекте указаны порядковый номер и буквы «Л» - левый или «П» - правый. Объекты необходимо устанавливать в кассеты обозначениями наружу соответственно в левую и правую кассеты относительно пациента.
Освещенность предъявляемых объектов изменяется поворотом ручек регулировки яркости ламп 6 (см. рисунок 2).
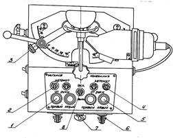
Требуемую частоту миганий или колебаний получают установкой ручки 7 против соответствующей цифры. Совместные или раздельные колебания и мигания объектов осуществляют установкой переключателя 4 (см. рисунок 3) в положение СОВМЕСТНО или РАЗДЕЛЬНО.
Раздельно для каждого объекта и совместно для обоих объектов могут быть осуществлены:
- колебательное движение от руки нажатием кнопок 5 (см. рисунок 2) или автоматическое установкой переключателей 4 в положение АВТОМАТ;
- мигающее освещение от руки нажатием кнопок 1 или автоматическое установкой переключателей 2 в положение АВТОМАТ.
Для того, чтобы исключить одновременность автоматических колебаний и миганий, необходимо следить, чтобы при работе автоматом на МИГАНИЕ переключатели колебаний 4 были установлены в положение ОТ РУКИ, а при работе автоматом на КОЛЕБАНИЕ переключатели миганий 2 должны стоять в положении ОТ РУКИ.
Установка окуляров по межзрачковому расстоянию производится вращением рукоятки 2 (см. рисунок 1), при этом рукоятка 11 должна быть предварительно зажата до упора.
Для фиксации головы больного служат подбородник 10 и налобник 9. Регулировка подбородника по высоте производится вращением рукоятки 3 (см. рисунок 3). Установка и фиксация подбородника в горизонтальном направлении производится винтом 1.

Рисунок 1 - Вид синоптофора со стороны пациента
1- основание; 2, 3, 4, 11 - рукоятки; 5- кассета; 6 - патрон; 7 – объект; 8 – оптические головки; 9 - налобник; 10 – подбородник; 12 – вставка плавкая; 13 – рефлектор; 14 – гайка; 15 – стекло молочное

Рисунок 2 - Вид синоптофора со стороны врача
1, 5 - кнопки; 2, 4, 8 - переключатели; 3 - фиксатор; 6, 7 – ручки

Рисунок 3 - Вид синоптофора сбоку
1 – винт; 2, 3 - рукоятки; 4 – переключатель

Рисунок 4.1 - Объекты на слияние

Рисунок 4.2 - Объекты на слияние

Рисунок 5 - Объекты на совмещение, для наблюдения стереоскопического блеска и для контроля
2. ПОДГОТОВКА К РАБОТЕ
2.1 Дезинфекция
2.1.1 Продезинфицируйте наружные поверхности налобника 9.
(см. рисунок 1) и подбородника 10 тампоном, смоченным 3 % раствором перекиси водорода с добавлением 0,5 % моющего средства по или 1 % раствором хлорамина. Тампон перед протиркой должен быть отжат.
2.2 Проверка правильности показаний синоптофора
2.2.1 Проверку следует производить при вводе в эксплуатацию нового синоптофора, а также после длительного хранения и в процессе эксплуатации при появлении сомнений в правильности показаний синоптофора.
2.2.2 Включите штепсельную вилку синоптофора в сеть.
2.2.3 Установите переключатели 2 и 4 (см. рисунок 2) в положение ОТ РУКИ.
2.2.4 Установите рукоятками 3, 4 (см. рисунок 1) и 2 (см. рисунок 3) индексы всех шкал в положение «0».
2.2.5 Установите рукояткой 2 (см. рисунок 1) оптические головки согласно межзрачковому расстоянию, предварительно зажав до упора рукоятку 11.
2.2.6 Отрегулируйте подбородник по высоте рукояткой 3 (см. рисунок 3).
2.2.7 Установите подбородник в горизонтальном направлении и зафиксируйте винтом 1.
2.2.8 Установите контрольные объекты № 20 (см. рисунок 5) в кассеты 5
(см. рисунок 1).
2.2.9 Включите переключатель 8 (см. рисунок 2).
2.2.10 Ручками 6 установите необходимую яркость.
2.2.11 Контрольные кресты, рассматриваемые через окуляры прибора двумя глазами, должны слиться в один. Если слияние не произошло по горизонтали, перемещают оптические головки рукоятками 3 (см. рисунок 1), по вертикали – вращают рукоятки 4, при развороте крестов – вращают рукоятки 2
(см. рисунок 3) до получения единого изображения контрольных крестов. Затем берут отсчет по всем шкалам синоптофора.
Отклонение индексов от положения «0» на шкалах горизонтальных углов и углов поворота может быть не более ± 10, а на шкалах вертикальных углов - не более ± 2 срад.
Проверка синоптофора должна производиться лицами с нормальным зрением.
2.3 Подготовка к проведению исследования или тренировочных упражнений
2.3.1 Произведите подготовку в соответствии с 6.2.1 - 6.2.4.
2.3.2 На подбородник положите салфетку (папиросная бумага).
2.3.3 Усадите пациента на стул перед столиком с синоптофором так, чтобы его грудь не упиралась в переднюю стенку стола. Отрегулируйте подбородник по высоте рукояткой 3 (см. рисунок 3) и в горизонтальном положении таким образом, чтобы голова пациента находилась в удобном положении и при этом была хорошо зафиксирована. Зажмите винт 1.
2.3.4 Установите необходимые объекты.
2.3.5 Включите переключатель 8 (см. рисунок 2).
3. ПОРЯДОК РАБОТЫ
3.1 Определение объективного и субъективного углов косоглазия
3.1.1 Для определения объективного угла косоглазия следует установить в кассеты парные объекты на совмещение, например, «кружок» и «квадрат» (объект № 7); мелкие объекты на слияние «шарики с меткой» (объект № 11); «кошка с хвостом» и «кошка с ушами» (объекты № 15, № 17). Затем попеременно включайте то правый, то левый объект, нажимая кнопки МИГАНИЯ 1 (см. рисунок 2). При этом пациенту предлагают поочередно фиксировать каждым глазом соответствующий объект и наблюдают за движением глаз пациента
Если во время попеременного включения объектов глаза пациента остаются неподвижными, то косоглазия нет.
При наличии косоглазия наблюдается установочное движение глаза кнаружи или внутрь. В этом случае, продолжая попеременно включать освещение то правого, то левого объектов, медленно передвигают оптические головки по горизонтали внутрь или кнаружи до тех пор, пока прекратятся установочные движения глаз. В этом положении головок по шкале горизонтальных углов можно определить величину объективного угла косоглазия по горизонтали. Если при этом один глаз будет совершать установочные движения кверху или книзу, то соответственным перемещением объектов рукоятками 4 (см. рисунок 1) до прекращения движения глаз определяют объективный угол косоглазия по вертикали.
Перемещение головок синоптофора производят незаметно для пациента (в момент выключения света).
3.1.2 Для определения субъективного угла косоглазия включите оба объекта одновременно. Предложите пациенту самостоятельно перемещать головки до тех пор, пока «кружок» не войдет в «квадрат», или два «шарика» с пометкой не сольются в один с двумя метками, или два объекта «кошка с хвостом» и «кошка с ушами» не сольются в одну фигурку с двумя элементами контроля – «кошку с хвостом и ушами».
При совмещении изображений определяют величину субъективного угла косоглазия по шкалам синоптофора.
3.2 Определение состояния фузионной способности (бифовеального слияния, нефовеального слияния, фузионных резервов, функциональной скотомы)
Для определения состояния фузионной способности применяют объекты для слияния. При исследовании сенсорного компонента фузии используют объекты № 11, № 15, № 17.
Если при поочередном включении объектов при данном положении головок синоптофора глаза не совершают установочных движений (положение объективного угла косоглазия) и при одновременном включении тех же объектов пациент видит их совмещенными или слившимися (положение субъективного угла косоглазия), то имеет место бифовеальное слияние (объективный угол равен субъективному). Допустимая разница в величине объективного и субъективного углов от 20до 30. Чем мельче объект, тем более незначительные изменения можно выявить (например, небольшую функциональную скотому).
Для определения фузионных резервов используют объекты на слияния, например, объекты № 11, № 17, № 2, № 3, № 8 или другие аналогичные объекты. Ставят парные объекты в положение угла слияния, затем медленно сводят оптические головки прибора к носу (при определении положительных резервов) или разводят их (при определении отрицательных резервов) до момента двоения слившегося объекта. Пациенту предварительно объясняют, что он должен удерживать объекты слившимися. Следует помнить, что чем больше размер объектов, тем больше величина фузионных резервов. Поэтому для сравнительной оценки фузионных резервов в ходе лечения целесообразно использовать какой-то один объект. Величина фузионных резервов на объекте № 2 в среднем равна: для положительных 160 ± 180, для отрицательных 50± 20. Вертикальные фузионные резервы определяют аналогичным способом, но перемещают объекты в кассетах по вертикали, например, правый вверх (левый вниз) – для определения правого супрафузионного резерва или левый вверх (правый вниз) – для определения левого супрафузионного резерва.
При определении способности к бифовеальному слиянию один из объектов может исчезнуть из поля зрения или появиться с другой стороны фиксируемого объекта. В этом случае имеет место функциональная скотома. Зона, в пределах которой один объект не виден, характеризует размер скотомы в градусах (определяется по делениям шкалы синоптофора).
При наличии нефовеального слияния угол слияния (субъективный угол) не равен объективному углу. Такое состояние встречается при наличии ассиметричного бинокулярного зрения (так называемая аномальная корреспонденция сетчаток гармонического типа).В таких случаях слияние объектов происходит при нулевом или близком к нему (от 20 до30) положении объектов, исследуемый же при этом косит и его объективный угол не равен углу слияния. Как правило, при асимметричном бинокулярном зрении объективный угол бывает небольших размеров (от 50 до 70), а фузионные резервы ограничены.
3.3 Проведение лечебных ортоптических упражнений
Основное лечебное назначение синоптофора – устранение функционального подавления (скотомы) и восстановление нормальной фузионной способности, то есть бифовеального слияния и фузионных резервов.
Для лечебных целей используют объекты для слияния тем большего размера, чем больше размер функциональной скотомы.
При назначении лечебных упражнений объекты устанавливают под объективным углом косоглазия, закрепляют фиксаторами 3 (см. рисунок 2).
Включают автоматическое мигающее раздельное для каждого объекта освещение, при этом переключатели 4 должны находиться в положении ОТ РУКИ.
По мере восстановления фузионной способности назначают упражнения на объектах меньшего размера, а также уменьшают частоту миганий ручкой 7.
Для закрепления полученных результатов проводят упражнения, при которых пациент должен удерживать слившимися колеблющиеся объекты, установленные под объективным углом косоглазия. Колебания объектов также проводят автоматически.
На курс лечения назначают от 20 до 30 упражнений от 10 мин. до 15 мин. ежедневно или через день.
Развитие фузионных резервов проводят также на объектах для слияния, начиная с более крупных объектов, и переходят постепенно к объектам меньшего размера. Для развития горизонтальных резервов используют вначале горизонтально направленные объекты (№ 5, № 19), для развития вертикальных резервов – вертикально направленные объекты (№ 9, № 10), а затем назначают упражнения и с другими объектами.
Суть упражнений сводится к тому, что пациент должен удерживать все детали общей фигуры слившимися, в то время как исследователь медленно раздвигает (при развитии отрицательных резервов) или сдвигает (при развитии положительных резервов) оптические головки. Можно использовать после объектов для слияния объект со стереоскопическим эффектом (№ 13).
Для развития подвижности глаз устанавливают любые объекты для слияния под субъективным углом косоглазия. Фиксируют положение головок фиксаторами 3 и отворачивают рукоятку 11 (см. рисунок 1). Затем начинают перемещать одновременно обе головки то в одну, то в другую сторону, предлагая пациенту непрерывно следить за слившимися деталями рисунка.
Описанная методика не исчерпывает всех возможностей синоптофора и может в процессе работы уточняться и дополняться.