
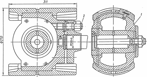
Чертеж крейцкопфа

Пояснения к чертежу:
1.Палец
2.Шпилька
Запасные части крейцкопфа компрессора 4М10-40/70
| Обозначение | Наименование | Количество на одну сборочную единицу | Материал | Масса, кг |
| 1 | 2 | 3 | 4 | 5 |
| Н266-2-3А | Палец | 1 | Сталь 45, ГОСТ 1050-70 | 5,9 |
| Н266-2-8 | Шпилька | 4 | Сталь 38ХА, ГОСТ 4543-71 | 0,5 |
Все запасные части на крейцкопф компрессора 4М10-40/70 являются взаимозаменяемыми во всех модификациях компрессоров.