




|
|
Гидрораспределители Р103-АЛ-64, Р 103 АЛ 64, Р103АЛ64 Б24 А110 А220 УХЛ4 предназначены для изменения направления или пуска и останова потока рабочей жидкости в гидравлических системах станков, прессов и других стационарных машин с давлением до 20 МПа и 32 МПа соответственно. В зависимости от исполнения гидрораспределители могут иметь различные схемы распределения рабочей жидкости и применяться с электромагнитным, гидравлическим, пневматическим, ручным (от рукоятки или кнопки) и механическим (от кулачка) управлением. В качестве рабочей жидкости используются минеральные масла (индустриальное ИГП-30, турбинное Тп-22, Тп-30 по ГОСТ9972-74 и т.д.) с классом чистоты не грубее 13 по ГОСТ17216-71 с кинематической вязкостью от 10 до 400 мм²/с (сСт) при температуре от 0°C до 55°С с номинальной тонкостью фильтрации не более 0,025мм. Температура окружающей среды от 1°С до 55°С. Климатическое исполнение УХЛ - для регионов с умеренным и холодным климатом, О - для регионов с тропическим климатом. |
|
|
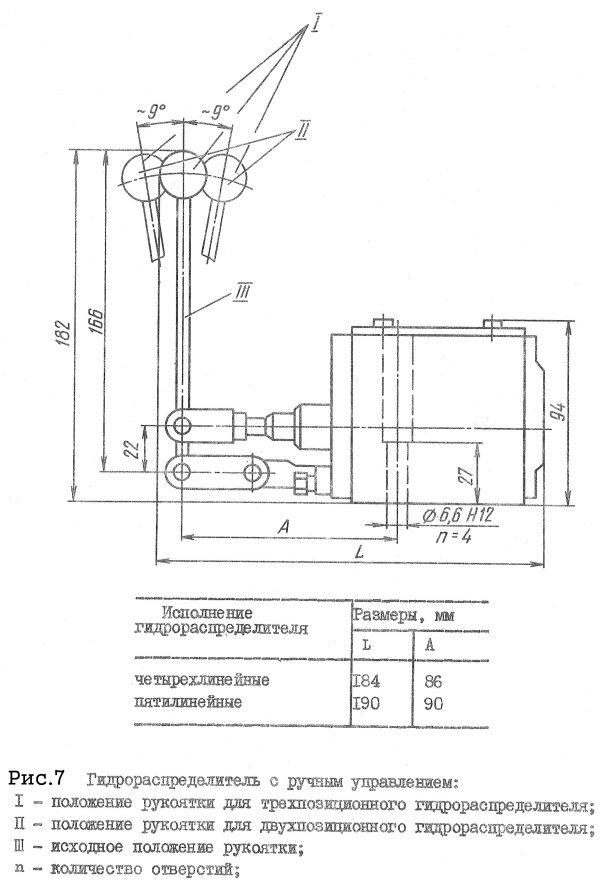
Базовой деталь паспределителя Р-102, Р-103 служит литой чугунный корпус, в котором выполнены основные каналы: подвод рабочей жидкости Р, цилиндровые отводы А и В, сливные полости Т. Для четырехлинейного исполнения сливные полости объединены между собой. В центральном отверстии корпуса расположен золотник, связанный через толкатель с органами управления, которые крепятся к торцам корпуса. В верхней части корпуса имеется ниша, которая служит для размещения выводов от катушек электромагнитов и клеммников. Эта ниша закрывается крышкой, которая служит одновременно фирменной табличкой. В гидрораспределителе с электромагнитами герметичного исполнения вывод проводов осуществляется через штепсельные разъемы, расположенные на магнитах.
Структура условного обозначения







|
|
Гидрораспределители Р102.ЕЛ.574(А) с односторонним электромагнитным управлением на 24 В постоянного тока (в других исполнениях на 110 и 220 В переменного тока) применяется в гидроагрегатах станков и мобильной техники, например, в качестве пилота на буровых установках. Данная схема распределения в Р102(Р103) (574) является наиболее востребованной для современных нужд машиностроения. Гидросхема Р102-ЕЛ574
|
|
|
Гидрораспределители Р102.АЛ.44, Р103-АЛ-44 с двухсторонним электромагнитным управлением на 24 В постоянного тока (в других исполнениях на 110 и 220 В переменного тока) применяется в гидроагрегатах станков и мобильной техники. Данная схема распределения в Р102(Р103) 44 является востребованной для современных нужд машиностроения. В мобильной техники применяются в основном гидрораспределители ВЕ10 44 Г24, в промышленности - ВЕ10 44 В110 и ВЕ10 44 В220. Гидросхема Р102-АЛ44
|
|
|
Основные параметры плиты присоединительная Р-102, Р-103: — подвод гидролиний - сбоку в стороны; |
Пример условного обозначения гидравлического золотникового распределителя с двухсторонним электромагнитным управлением, Ду = 10 мм, тип электромагнита - "мокрый", со схемой распределения 64, питание от сети 24 В постоянного тока, для работы в холодном и умеренном климате:
Гидрораспределитель Р102.АЛ.64.Г24.